CNew 408 #26 Posted March 10, 2020 If you do end up needing a replacement diaphragm and gasket for the carburetor there are a couple of us that can help or you could grab one on eBay right now, only 2 left. This is a great seller and is good about combining shipping charges. This is a good price as well. https://www.ebay.com/itm/O-R-NEW-DIAPHRAGM-95-2/362882310541?hash=item547d78a18d:g:NhwAAOSwljFeHqTF https://www.ebay.com/itm/O-R-NEW-GASKET-PART-NUMBER-05-36/192851321302?hash=item2ce6d5a1d6:g:RzMAAOSw3bBcgw4N:sc:USPSFirstClass!85249!US!-1 Share this post Link to post Share on other sites
CNew 408 #27 Posted March 10, 2020 14 hours ago, francisco said: i have the same one as in the tutorial that factory the member on here put up a few posts up just the carb intake port is in a slightly different location same arm and spring and the little bar I will take a look through my parts later this evening and see what I can come up with. Share this post Link to post Share on other sites
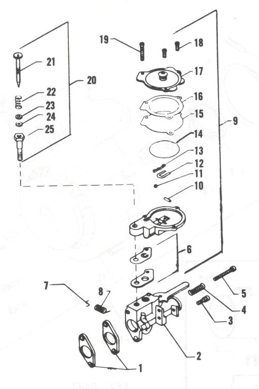
factory 487 #29 Posted March 10, 2020 22 hours ago, francisco said: i just took these pics that last pic was from one i found on google just checked out the member factory tutorial on that carb and it looks the same as mine only difference is the gas line port position and i noticed its only missing the little lever/arm inside has the rest it runs i just blew thru the top of gas tank to get gas to carb and starts right up Looks in very nice condition, it's the slightly less common & later large gas tank version. 19 hours ago, francisco said: its still needs the arm and probably a new spring too been looking all over for anyone selling the parts or a complete carb It's usually the little rod, ball bearing & U shaped spring that go missing. The engine on your Tiny Tiger dates from 1968, so unless the carb has been replaced it should use the standard arm & ball bearing check valve, those U shaped springs only have a slight bend & are usually reusable. Typical late 1960's carb diagram & parts list below; 17 hours ago, francisco said: i also have all the paper work and instructions with the parts list for it its in the original box i could look up part number for you if that helps and i just noticed that the plate for it the rim of it the little lip that it has is bent about half way around The plate? Is this the one attached to the cylinder? If it is someone has bent it to get the carb needle valve out without removing the carb from the engine. David Share this post Link to post Share on other sites
francisco 4 #30 Posted March 10, 2020 #14 the diapdram disc is bent im missing #10 #13 everthing else is mint yes the larger tank with the base on it Share this post Link to post Share on other sites
factory 487 #31 Posted March 10, 2020 Can the diaphragm disc not be straightened? Later carbs had a smaller flat disc glued to the diaphragm. I've used shafts taken out of broken cassette players to replace the roller and cut them down to fit. I thought Wallfish was looking for the diaphragm arm for you, give him a chance to look through his spares. David Share this post Link to post Share on other sites
francisco 4 #32 Posted March 10, 2020 i flatted it and put the little lip it had around the edge i got it as close as i could. yea im waiting wallfish and Cnew to go through their stash when they have time too Share this post Link to post Share on other sites
CNew 408 #33 Posted March 10, 2020 The broken cassette player for the little rod is a great idea. I will also look for a lever arm this evening. Share this post Link to post Share on other sites
francisco 4 #34 Posted March 10, 2020 where about in the cassette player is it located think i have one somewhere in my junk bin ill take apart Share this post Link to post Share on other sites
factory 487 #35 Posted March 10, 2020 (edited) I save the shafts from any broken electronic gadgets I take apart, cassette players are just one example of something that may contain these, here is a random picture of a cassette player mechanism I've recycled, full of little parts that can disappear under the bench. Here is one I made earlier (from a cut down shaft) fitted to the carb diaphragm bowl. Model engineering shops would have suitable diameter rod too. David Edited March 10, 2020 by factory Share this post Link to post Share on other sites
francisco 4 #36 Posted March 10, 2020 thanks for the info on the bar i just went through my kids rooms and in my 4y room found a broken toy car cut off the rod for the tire sized and filed to fit snug it looks like the original one 2 factory and CNew reacted to this Share this post Link to post Share on other sites
CNew 408 #37 Posted March 11, 2020 Sent you a PM on the lever arm. Share this post Link to post Share on other sites
francisco 4 #38 Posted March 11, 2020 52 minutes ago, CNew said: Sent you a PM on the lever arm. 1 CNew reacted to this Share this post Link to post Share on other sites
CNew 408 #39 Posted March 11, 2020 That’s not too bad, nice job flattening it out. I think it should still work, it’s definitely worth a try anyway. Share this post Link to post Share on other sites
francisco 4 #40 Posted March 11, 2020 thanks im hoping and praying it does work out i tried my hardest to get the little lip on it as smooth as possible Share this post Link to post Share on other sites
CNew 408 #41 Posted March 11, 2020 It shouldn’t be an issue, especially since most of the rim looks ok, it just has to make contact with the bottom of the carb when the lever is pushed down. I’ve seen much worse that still work. 1 francisco reacted to this Share this post Link to post Share on other sites
JUST O&R 237 #42 Posted April 3, 2020 On 3/5/2020 at 12:33 PM, JUST O&R said: Some one need to tell me why the tiny tiger went for 610.00 +25.00 shipping https://www.ebay.com/itm/VINTAGE-OHLSSON-amp-RICE-1HP-2-STROKE-GAS-ENGINE-W-TINY-TIGER-GENERATOR-300-WATT-/233499400699?hash=item365da619fb%3Ag%3A~6QAAOSw29ZeTGSz&nma=true&si=%2Be89Bj04bIJJ2ZHxKWO5vxfLboQ%3D&orig_cvip=true&nordt=true&rt=nc&_trksid=p2047675.l2557 starting bit 174.50 there going to try to sell it again Share this post Link to post Share on other sites
CNew 408 #43 Posted April 3, 2020 Ha, yeah I saw that - still seems just a tad too high... but way better than $610! Share this post Link to post Share on other sites
Wallfish 716 #44 Posted April 3, 2020 Seems they tried to bait someone with false bidding. Do the questions to the seller go into the ad automatically or does the seller do it? Auto would be nice to shed light on this type of crap so the next buyer is aware of the selling history. It seems like 50% of the people try to scam the other 50%. In reality it's more like 10% are the scourge but they're 90% of the problem 2 Fishnuts2 and CNew reacted to this Share this post Link to post Share on other sites